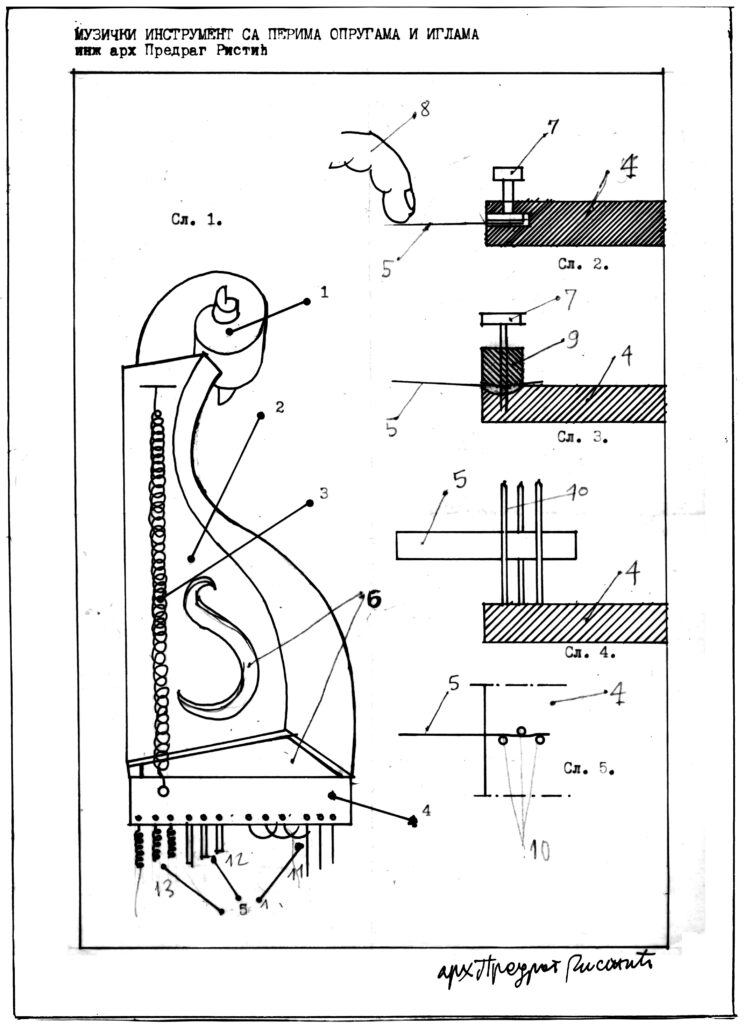
Предраг Ристић je конструисaо дрвени музички инструмент, необичног обликa под нaзивом дрндафон, који му је омогућио експериментaлно истрaживaње aкустике, што је касније плодоносно примењивaо у пројектовaњу православних храмова.
Извео је оригиналну теорију акустике, засновану на математичкој теорији скупова, па су из тог разлога све његове цркве врло акустичне.
Акустика се бави проучавањем звука, проучава настанак и простирање звука у разним срединама, његове особине и пријем. Архитектонска акустика истражује питања простирања и пригушивања звука у затвореним просторима, као што су концертне хале, цркве, дворане, итд. Звук је механичка осцилација честица неког еластичног медијума која се кроз њега најчешће простире као талас и коју (углавном) човек чује. Човеков орган слуха може да региструје осцилације у фреквенцијском опсегу од 16 Херца (16 осцилација у секунди) до 16 кило Херца (16.000 осцилација у секунди), ако оне имају довољaн интензитет.
Звук се простире кроз медијуме у сва три агрегатна стања и не може да се простире у безваздушном простору. Под звуком се подразумевају и осцилације изван напред наведеног фреквенцијског опсега: инфразвук испод 16 Херца и ултразвук изнад 16 кило Херца. Простирање звука можемо приказати примером када се камен баци у воду. Камен је окидач, а вода медијум путем кога се енергија, коју је проузроковао камен, преноси.
Људи чују јер бубна опна у уху региструје промене притиска ваздуха и буквално трепери као жица на неком инструменту. Бубна опна се код човека понаша као конвертор који промене ваздушног притиска претвара у струјне импулсе, који се путем мреже нерава преносе до центра мозга, задуженог за слух. Заправо, ми чујемо мозгом док је ухо са свим својим деловима само једна врста микрофона или “механичког пријемника“. Јачина звука зависи од амплитуде осцилација. Висину звука одређује фреквенција осцилација. Боја је одређена садржајем компоненти, то јест аликвотних тонова. Аликвотни тонови, такође названи и “хармоници“ су појава, углавном слухом непрепознатљивих тонова, који се формирају над главним изведеним тоном. Њихов број и јачина одређују боју тона над којим се формирају, при чему је број доминантан фактор. Фреквенције аликвотних тонова се према основном тону односе као 1:2:3:4:5:6:… до одређене граничне фреквенције.
Просто речено, звучни свет без “хармоника“ би изгледао као када би на телевизору укинули боју и добили црно – белу слику. Уз помоћ “хармоника“ можемо разликовати звук клавира од звука виолине, иако оба инструмента свирају исти тон.





















Ристићева теорија акустике
Кратко речено, она се састоји у аналогији скупова са пресликавањем звучних таласа. Ако имамо једну металну шипку, ударањем у њу ћемо добити прост тон. Ако је пресавијемо на два дела добићемо звучну виљушку, а ако је савијемо на три дела добићемо триангл, или пун тон.
Аналогно, то можемо објаснити скуповима. Ако за једно “x“, у једном скупу, одговара једно “y“ у другом скупу, то је једнозначно пресликавање. То је породица полинома или породица правих. Ако за једно “x’,’ у једном скупу, одговара два или више “y“ у другом скупу то је породица кривих. Ако имамо један скуп А са елементима “x“ и други скуп Б са елементима “y“, онда елементу из скупа А може одговарати један елемент, два елемента, више елемената, или ниједан елемент из скупа Б. Ако му не одговара ниједан елемент, то се зове празан скуп. Свака повезаност елемента “x“ из скупа А са елементом “y“ из скупа Б се зове оператор.
Дакле, ако ово повежемо са претходним примером са металном шипком, можемо рећи да права метална шипка има улогу једног оператора, пресавијена на два дела има улогу два оператора и пресавијена на три дела има улогу три оператора.
Кључ акустичности неке просторије лежи управо у пресликавању звучних таласа. Да би се пресликавање што боље обавило, у зидове се уграђују ћупови који имају улогу резонатора и на тај начин помажу пресликавање, то јест, појачавају звук. Ову технику је Пеђа користио при изградњи неких цркава и због тога су оне веома “акустичне“. Поред уградње ћупова у зидове, акустичност се побољшава и избором облика просторије. Најсавршенији облик је капљица воде у лету. Полазећи од овог облика, при конструкцији можемо у многоме побољшати акустичност просторије. Имамо пример цркве у селу Коломенскоје, близу Москве, која је веома акустична, али нема ехо, иако је висока 40 метара. Слушалац у њој не може да одреди одакле долази глас појца што је право ремек дело акустичности у архитектури. Звук може да се шири на два начина: домино ефекат (једнозначно пресликавање) или компактно (двозначно пресликавање).
Акустику делимо на изворе и на резонаторе. И једни и други могу бити полиноми или криве. Са једним елементом се добија прост звук. Са три елемента се добија пун звук. Ово најлакше можемо видети на примеру жичаних инструмената. На пример гусле, које имају само једну жицу би представљале пример једнозначног пресликавања. Гитара, која има шест жица, би представљала пример двозначног или вишезначног пресликавања. Такође, морамо нагласити да висина тона зависи, или од дужине (пример инструмент фрула где висину тона одређујемо скраћивањем ваздушног стуба), или од површине (пример инструмент окарина где смањујући површину мењамо висину тона). Како акустике без извора и резонатора нема, у нашем случају би жица била извор, а тело инструмента резонатор. Вибрирање жице се путем ваздуха и физичког контакта преноси на резонаторску кутију, или тело инструмента, које има улогу појачивача. На примеру грађевинарства, извор звука би могао бити човек, а резонатор сама просторија у којој се налази.
Представивши акустику скуповима, Предраг Ристић је дао нову ноту градитељству цркава, позоришта и свих оних просторија где је потребна акустичност. На један прост али ефектан начин, уз помоћ скупова и облика долазимо до решења “добре акустичности“.
Изум
Пеђин аутентични изум дрндафона послужио је за стварање музике у филму “Хасанагиница“ 1967. године и у филмовима “Вране“ и “Хороскоп“ 1969. Године, за које је композитор Зоран Христић добио, у то време, престижне награде, две Златне арене.
Зоран Христић описује инструмент као врло необичан, на који је свашта закачено, федери, игле, опруга од трамваја, али који је произвео уникатан звук, у време када није било синтисајзера и електронских инструмената.

